INSTRUKCJA OBSŁUGI SILNIKA ZABURTOWEGO PARSUN F9.8BM/FW F8BM/FW F6BM/FW
Spis treści
- 1. Główne komponenty i informacje ogólne
- 2. Obsługa
- 3. Konserwacja
- 3.1 Smarowanie
- 3.2 Czyszczenie i regulacja świecy zapłonowej
- 3.3 Sprawdzanie układu paliwowego
- 3.4 Sprawdzanie prędkości biegu jałowego
- 3.5 Wymiana oleju silnikowego
- 3.6 Sprawdzanie okablowania i złączy
- 3.7 Sprawdzanie wycieków
- 3.8 Sprawdzanie śruby
- 3.9 Wymiana oleju przekładniowego
- 3.10 Czyszczenie zbiornika paliwa
- 3.11 Sprawdzanie i wymiana anod
- 3.12 Sprawdzanie górnej pokrywy
- 3.13 Tabela konserwacji
- 4. Transport i przechowywanie silnika zaburtowego
- 5. Działania w sytuacjach awaryjnych
- 6. Rozwiązywanie problemów
- 7. Schemat obwodu
1. Główne komponenty i informacje ogólne
1.1 Główne komponenty

- Górna pokrywa
- Uchwyt blokady górnej pokrywy
- Płyta antykawitacyjna
- Śruba napędowa
- Wlot wody chłodzącej
- Drążek trymu
- Śruba cierna układu kierowniczego
- Wspornik zaciskowy
- Uchwyt rumpla
- Przycisk zatrzymania silnika / Wyłącznik bezpieczeństwa (zrywka)
Przenośny zbiornik paliwa składa się z następujących części:

- Korek wlewu paliwa 3. Śruba odpowietrzająca

- Złącze paliwo 4. Wskaźnik poziomu paliwa
OSTRZEŻENIE:
Zbiornik paliwa dostarczony z tym silnikiem może być używany wyłącznie do zasilania go paliwem podczas pracy i nie może służyć jako pojemnik do przechowywania paliwa.
Zdalne sterowanie
Dźwignia zdalnego sterowania uruchamia zarówno mechanizm zmiany biegów, jak i przepustnicę. Przełączniki elektryczne są zamontowane na skrzynce zdalnego sterowania.

- a) Dźwignia zdalnego sterowania
- b) Blokada biegu jałowego
- c) Dźwignia gazu na biegu jałowym
- d) Wyłącznik główny/przełącznik ssania
- e) Wyłącznik bezpieczeństwa (zrywka)
- f) Regulator tarcia przepustnicy
Dźwignia zdalnego sterowania
Przesunięcie dźwigni do przodu z pozycji neutralnej włącza bieg do przodu. Pociągnięcie dźwigni do tyłu z pozycji neutralnej włącza bieg wsteczny. Silnik będzie nadal pracował na biegu jałowym, dopóki dźwignia nie zostanie przesunięta o około 35º (wyczuwalny opór). Dalsze przesuwanie dźwigni otwiera przepustnicę, a silnik zacznie przyspieszać.

- Neutralny "N"
- Do przodu "F"
- Wsteczny "R"
- Zmiana biegu
- Całkowicie zamknięta
- Przepustnica
- Całkowicie otwarta
Blokada biegu jałowego
Aby wyjść z biegu jałowego, najpierw pociągnij blokadę biegu jałowego do góry.

- Blokada biegu jałowego
Dźwignia gazu na biegu jałowym
Aby otworzyć przepustnicę bez włączania biegu do przodu ani wstecznego, ustaw dźwignię zdalnego sterowania w pozycji neutralnej i podnieś dźwignię gazu na biegu jałowym.
UWAGA:
Dźwignia gazu na biegu jałowym będzie działać tylko wtedy, gdy dźwignia zdalnego sterowania znajduje się w pozycji neutralnej. Dźwignia zdalnego sterowania będzie działać tylko wtedy, gdy dźwignia gazu na biegu jałowym znajduje się w pozycji zamkniętej.

- Całkowicie otwarta
- Całkowicie zamknięta
1.2 Informacje ogólne
1.2.1 Specyfikacja
Główne dane techniczne
| Pozycja | Dane | Pozycja | Dane |
|---|---|---|---|
| Typ silnika | 4-suwowy | Wysokość pawęży (S) | 381 mm |
| Pojemność skokowa | 209 cm³ | Wysokość pawęży (L) | 508 mm |
| Średnica x Skok | 55 × 44 mm | Zalecane paliwo | Bezołowiowa benzyna regularna |
| Przełożenie | 2.08 (27/13) | Pojemność zbiornika paliwa | 12 L |
| Długość całkowita | 965 mm | Zalecany olej silnikowy | SAE10W30 lub SAE10W40 |
| Szerokość całkowita | 364 mm | Ilość oleju silnikowego | 0.8 L |
| Wysokość całkowita (S) | 1039 mm | Zalecany olej przekładniowy | Olej przekładniowy hipoidalny SAE #90 |
| Wysokość całkowita (L) | 1166 mm | Ilość oleju przekładniowego | 320 cm³ |
| Masa (S/WS) | 38 kg / 40 kg | Świeca zapłonowa | DPR7EA-9 |
| Masa (L/WL) | 39.5 kg / 41.5 kg | Odstęp elektrod świecy | 0.8 ~ 0.9 mm |
Osiągi
| Pozycje | dane | Pozycje | dane | |||
|---|---|---|---|---|---|---|
| 7.2Kw/5500Rpm (9.8KM) | Luz | zaworowy ssący (zimny) | 0.13 ~ 0.17mm | |||
| Maksymalna moc | 5.9Kw/5500Rpm(8KM) | Luz | zaworowy wydechowy (zimny) | 0.18 ~ 0.22mm | ||
| 4.4Kw/5000Rpm(6KM) | Moment | Świeca zapłonowa | 18.0Nm | |||
| Zakres roboczy przy | 5000 ~ 6000Rpm (9.8/8KM) | dokręcania | Śruba spustowa oleju | 28.0Nm | ||
| pełnym otwarciu przepustnicy | 4500 ~ 5500Rpm(6KM) | silnika | Śruba spustowa oleju | 28.0Nm | ||
| Prędkość biegu jałowego (luz) | 950 ± 50Rpm |
1.2.2 Instrukcje dotyczące paliwa
Zalecana benzyna: Regularna benzyna bezołowiowa. Jeśli nie jest dostępna, benzyna premium.
Jeśli wystąpi stukanie lub dzwonienie, użyj innej marki benzyny lub bezołowiowej benzyny premium. Jeśli zwykle używana jest benzyna ołowiowa, zawory silnika i powiązane części powinny być sprawdzane po każdych 100 godzinach pracy.
OSTRZEŻENIE:
⚠ Nie pal podczas tankowania i trzymaj się z dala od iskier, płomieni lub innych źródeł zapłonu.
• Zatrzymaj silnik przed tankowaniem.
- Tankuj w dobrze wentylowanym miejscu; przenośne zbiorniki paliwa tankuj poza łodzią.
- Nie przepełniaj zbiornika paliwa.
- Uważaj, aby nie rozlać benzyny; jeśli dojdzie do rozlania, natychmiast ją wytrzyj.
- Po zatankowaniu mocno dokręć korek wlewu.
- W przypadku połknięcia benzyny, wdychania jej oparów lub dostania się jej do oczu, należy natychmiast zasięgnąć porady lekarza.
- Jeśli benzyna dostanie się na skórę, natychmiast zmyj ją mydłem i wodą. Zmień ubranie, jeśli zostało zabrudzone benzyną.
- Dotknij metalowych elementów dyszą paliwoą, aby zapobiec powstawaniu iskier elektrostatycznych.
PRZESTROGA:
Używaj wyłącznie nowej, czystej benzyny, która była przechowywana w czystych pojemnikach i nie jest zanieczyszczona wodą ani ciałami obcymi.
Olej silnikowy:
Zalecany olej silnikowy: Olej do czterosuwowych silników zaburtowych SAE10W30 i SAE10W40 (0.8L).
OSTRZEŻENIE:
- Nie uruchamiaj silnika, gdy poziom oleju jest niski. Może to spowodować poważne uszkodzenie.
- Zawsze sprawdzaj poziom oleju przed uruchomieniem silnika.
PRZESTROGA:
Wszystkie silniki 4-suwowe są wysyłane z fabryki bez oleju silnikowego.
1.2.3 Wybór śruby
Osiągi silnika zaburtowego zależą w decydującym stopniu od wyboru śruby napędowej, ponieważ niewłaściwy wybór może negatywnie wpłynąć na osiągi. Silnik zaburtowy jest wyposażony w śrubę dobraną tak, aby dobrze sprawowała się w szerokim zakresie zastosowań, ale mogą istnieć sytuacje, w których bardziej odpowiednia byłaby śruba o innym skoku. Dealerzy PARSUN dysponują szeroką gamą śrub i mogą doradzić oraz zainstalować w silniku śrubę najlepiej dopasowaną do Państwa potrzeb.
W przypadku dużego obciążenia łodzi i niskiej prędkości obrotowej silnika bardziej odpowiednia jest śruba o mniejszym skoku. I odwrotnie, śruba o dużym skoku jest bardziej odpowiednia dla mniejszego obciążenia roboczego, ponieważ umożliwia utrzymanie prawidłowej prędkości obrotowej silnika.
2. Obsługa
2.1 Instalacja
Zamontuj silnik zaburtowy na linii środkowej (linii stępki) łodzi. W przypadku łodzi bez stępki lub asymetrycznych należy skonsultować się z dealerem.

- linia środkowa (linia stępki)
UWAGA:
Podczas testów na wodzie sprawdź wyporność łodzi w spoczynku z maksymalnym obciążeniem. Sprawdź, czy statyczny poziom wody na obudowie wydechu jest wystarczająco niski, aby zapobiec przedostawaniu się wody do głowicy silnika, gdy woda podnosi się z powodu fal, gdy silnik zaburtowy nie pracuje.
⚠ OSTRZEŻENIE:
Zainstalowanie silnika o zbyt dużej mocy może spowodować poważną niestabilność łodzi. Nie instaluj silnika zaburtowego o mocy przekraczającej maksymalną wartość podaną na tabliczce znamionowej łodzi. Jeśli łódź nie posiada tabliczki znamionowej, skonsultuj się z jej producentem.
Niewłaściwy montaż silnika zaburtowego może prowadzić do niebezpiecznych sytuacji i obrażeń. Silnik powinien zostać zamontowany przez dealera lub inną osobę doświadczoną w prawidłowym takielunku. Jeśli montujesz silnik samodzielnie, powinieneś zostać przeszkolony przez doświadczoną osobę.
Informacje przedstawione w tej sekcji mają charakter wyłącznie informacyjny. Prawidłowy montaż zależy częściowo od doświadczenia oraz konkretnej kombinacji łodzi i silnika.
2.1.1 Wysokość montażu
Wysokość montażu silnika zaburtowego ma ogromny wpływ na efektywność pływania łodzi. Jeśli wysokość montażu jest zbyt duża, pojawia się tendencja do kawitacji, co zmniejsza napęd. Jeśli wysokość montażu jest zbyt niska, opór wody wzrośnie, zmniejszając tym samym wydajność silnika. Zamontuj silnik zaburtowy tak, aby płyta antykawitacyjna znajdowała się pomiędzy dnem łodzi a poziomem 25 mm poniżej niego.
UWAGA:
Na optymalną wysokość montażu silnika zaburtowego wpływa kombinacja łodzi i silnika oraz zamierzone zastosowanie. Próby przy różnych wysokościach mogą pomóc w określeniu optymalnej wysokości montażu. Aby uzyskać więcej informacji, skonsultuj się z dealerem PARSUN lub producentem łodzi.
(0-1 cala) 0~25 mm
2.1.2 Mocowanie silnika zaburtowego
- Dokręć śruby zaciskowe pawęży równomiernie i mocno. Podczas pracy silnika zaburtowego należy od czasu do czasu sprawdzać stopień dokręcenia śrub zaciskowych, ponieważ mogą się one poluzować pod wpływem wibracji silnika.

PRZESTROGA:
Silniki zaburtowe wykorzystujące wyłącznie śruby wspornik zaciskowego są NIEWYSTARCZAJĄCO zabezpieczone na pawęży. Prawidłowa instalacja silnika zaburtowego obejmuje przykręcenie silnika do łodzi przez pawęż.
OSTRZEŻENIE:
Poluzowane śruby zaciskowe mogą spowodować wypadnięcie silnika zaburtowego lub jego przesunięcie na pawęży. Może to doprowadzić do utraty kontroli. Upewnij się, że śruby zaciskowe są mocno dokręcone, a podczas pracy okresowo sprawdzaj ich dokręcenie.
- Jeśli silnik jest wyposażony w uchwyt linki zabezpieczającej, należy użyć linki lub łańcucha zabezpieczającego silnik. Przymocuj go do bezpiecznego punktu montażowego na łodzi, aby uniknąć całkowitej utraty silnika w przypadku jego przypadkowego spadnięcia z pawęży.
- Przymocuj wspornik zaciskowy do pawęży za pomocą odpowiednich śrub. Aby uzyskać szczegółowe informacje, skonsultuj się z dealerem PARSUN.
OSTRZEŻENIE:
Unikaj używania niewłaściwych śrub, nakrętek lub podkładek. Po dokręceniu wykonaj próbne uruchomienie silnika i sprawdź ich dokręcenie.
2.2 Docieranie silnika
Nowy silnik wymaga okresu docierania, aby powierzchnie współpracujące ruchomych części zużywały się równomiernie.
PRZESTROGA:
Niezastosowanie się do procedury docierania może skutkować skróceniem żywotności silnika lub nawet jego poważnym uszkodzeniem.
- Przez pierwszą godzinę pracy: Uruchom silnik przy 2000 obr./min lub przy około połowie otwarcia przepustnicy.
- Przez drugą godzinę pracy: Uruchom silnik przy 3000 obr./min lub przy około trzech czwartych otwarcia przepustnicy.
- Przez następne osiem godzin pracy: Unikaj ciągłej pracy przy pełnym otwarciu przepustnicy przez ponad pięć minut jednorazowo.
- Eksploatuj silnik normalnie.
2.3 Kontrole przed uruchomieniem
Paliwo
- Sprawdź, czy masz wystarczającą ilość paliwa na podróż.
- Upewnij się, że nie ma wycieków paliwa ani oparów benzyny.
- Sprawdź połączenia przewodu paliwo, aby upewnić się, że są szczelne.
- Upewnij się, że zbiornik paliwa jest ustawiony na bezpiecznej, płaskiej powierzchni, a przewód paliwo nie jest skręcony, spłaszczony ani narażony na kontakt z ostrymi przedmiotami.
Sterowanie
- Przed uruchomieniem silnika sprawdź prawidłowe działanie przepustnicy, zmiany biegów i układu kierowniczego.
- Elementy sterujące powinny działać płynnie, bez zacięć i nietypowych luzów.
- Poszukaj poluzowanych lub uszkodzonych połączeń.
- Sprawdź działanie rozrusznik i wyłączników stopu, gdy silnik zaburtowy znajduje się w wodzie.
PRZESTROGA:
- Nie uruchamiaj silnika poza wodą. Może dojść do przegrzania i poważnego uszkodzenia silnika.
- Sprawdź silnik i jego zamocowanie.
- Poszukaj poluzowanych lub uszkodzonych elementów mocujących.
- Sprawdź śrubę pod kątem uszkodzeń.
Sprawdzanie poziomu oleju silnikowego
- Ustaw silnik zaburtowy w pozycji pionowej (nie odchylonej).

- Sprawdź poziom oleju za pomocą bagnetu, aby upewnić się, że mieści się on pomiędzy górnym a dolnym znakiem. Uzupełnij olej, jeśli jest poniżej dolnego znaku, lub spuść do określonego poziomu, jeśli jest powyżej górnego znaku.


- Górny znak poziomu
- Bagnet olejowy 3. Dolny znak poziomu
PRZESTROGA:
Pamiętaj o całkowitym włożeniu bagnetu do prowadnicy.
2.4 Napełnianie paliwa
OSTRZEŻENIE:
Benzyna i jej opary są wysoce łatwopalne i wybuchowe. Trzymać z dala od iskier, papierosów, płomieni lub innych źródeł zapłonu.
- Zdejmij korek wlewu paliwa.
- Ostrożnie napełnij zbiornik paliwa.
- Po napełnieniu zbiornika szczelnie zamknij korek. Wytrzyj rozlane paliwo.
2.5 Uruchamianie silnika
- Po poluzowaniu śruby odpowietrzającej na korku zbiornika paliwa (o 2 lub 3 obroty) pewnie połącz złącza paliwo.


- Pewnie połącz złącza paliwo i ściskaj gruszkę paliwoą końcem wylotowym do góry, aż poczujesz, że stała się twarda.


- Ustaw dźwignię zmiany biegów w pozycji neutralnej.

UWAGA:
Urządzenie zabezpieczające przed uruchomieniem na biegu zapobiega uruchomieniu silnika w innej pozycji niż neutralna. Przymocuj zrywkę wyłącznika zatrzymania silnika do bezpiecznego miejsca na ubraniu, ramieniu lub nodze. Następnie zainstaluj płytkę blokującą na drugim końcu zrywki w wyłączniku zatrzymania silnika.
OSTRZEŻENIE:
- Silnik musi być uruchamiany na biegu jałowym, w przeciwnym razie może dojść do jego uszkodzenia.
- Nie przypinaj zrywki do ubrania, które mogłoby się łatwo urwać. Nie prowadź zrywki
tam, gdzie mogłaby się zaplątać, uniemożliwiając jej działanie.
Unikaj przypadkowego pociągnięcia zrywki podczas normalnej pracy. Utrata mocy silnika oznacza utratę kontroli nad sterowanie. Ponadto, bez mocy silnika, łódź może gwałtownie zwolnić. Może to spowodować wyrzucenie osób i przedmiotów w łodzi do przodu.

- Ustaw manetkę gazu w pozycji "START" (uruchamianie).

- Wyciągnij całkowicie pokrętło ssania.

- pokrętło ssania
UWAGA:
- Nie jest konieczne używanie ssania przy uruchamianiu ciepłego silnika.
- Jeśli ssanie pozostanie w pozycji wyjściowej podczas pracy silnika, będzie on pracował nierówno lub zgaśnie.
- Powoli pociągnij uchwyt rozrusznik ręcznego, aż poczujesz opór. Następnie mocno pociągnij prosto, aby zakręcić i uruchomić silnik. W razie potrzeby powtórz.

- Po uruchomieniu silnika powoli cofnij uchwyt rozrusznik ręcznego do pierwotnej pozycji, zanim go puścisz.
- Powoli cofnij manetkę gazu do pozycji całkowicie zamkniętej.
PRZESTROGA:
- Gdy silnik jest zimny, wymaga rozgrzania.
- Jeśli silnik nie uruchomi się za pierwszym razem, powtórz procedurę. Jeśli silnik nie uruchomi się po 4 lub 5 próbach, otwórz nieco przepustnicę (między 1/8 a 1/4) i spróbuj ponownie.
Dla F6/8/9.8FW
- Ustaw dźwignię zdalnego sterowania w pozycji neutralnej.
UWAGA:
Urządzenie zabezpieczające przed uruchomieniem na biegu zapobiega uruchomieniu silnika w innej pozycji niż neutralna.

- Przymocuj zrywkę wyłącznika zatrzymania silnika do bezpiecznego miejsca na ubraniu, ramieniu lub nodze. Następnie zainstaluj płytkę blokującą na drugim końcu zrywki w wyłączniku zatrzymania silnika.
OSTRZEŻENIE:
Przymocuj zrywkę wyłącznika zatrzymania silnika do bezpiecznego miejsca na ubraniu, ramieniu lub nodze.
Nie przypinaj zrywki do ubrania, które mogłoby się łatwo urwać. Nie prowadź zrywki tam, gdzie mogłaby się zaplątać, uniemożliwiając jej działanie.
Unikaj przypadkowego pociągnięcia zrywki podczas normalnej pracy. Utrata mocy silnika oznacza utratę kontroli nad sterowanie. Ponadto, bez mocy silnika, łódź może gwałtownie zwolnić. Może to spowodować wyrzucenie osób i przedmiotów w łodzi do przodu.

- Przekręć wyłącznik główny do pozycji "ON" (włączone).
- Nieznacznie otwórz przepustnicę bez zmiany biegów za pomocą dźwigni gazu na biegu jałowym lub wolnego akceleratora. Może zajść potrzeba nieznacznej zmiany otwarcia przepustnicy w zależności od temperatury silnika. Po uruchomieniu silnika cofnij przepustnicę do pierwotnej pozycji.

UWAGA:
- W przypadku zdalnego sterowania wyposażonego w dźwignię gazu na biegu jałowym, dobrym punktem wyjścia jest podniesienie dźwigni do momentu wyczucia oporu, a następnie podniesienie jej jeszcze trochę.
- Dźwignia gazu na biegu jałowym lub wolny akcelerator mogą być używane tylko wtedy, gdy dźwignia zdalnego sterowania znajduje się w pozycji neutralnej.
- Naciśnij i przytrzymaj wyłącznik główny, aby uruchomić system zdalnego ssania. Przełącznik zdalnego ssania automatycznie wraca do normalnej pozycji po zwolnieniu ręki. Dlatego trzymaj przełącznik wciśnięty.

UWAGA:
- Nie jest konieczne używanie ssania przy uruchamianiu ciepłego silnika.
- Jeśli ssanie pozostanie w pozycji wyjściowej podczas pracy silnika, będzie on pracował nierówno lub zgaśnie.
- Przekręć wyłącznik główny do pozycji "START" (uruchamianie) i przytrzymaj go przez maksymalnie 5 sekund.

- Natychmiast po uruchomieniu silnika zwolnij wyłącznik główny i pozwól mu wrócić do pozycji "ON" (włączone).
PRZESTROGA:
- Nigdy nie przekręcaj wyłącznika głównego do pozycji "START" (uruchamianie) podczas pracy silnika.
- Nie trzymaj pracującego rozrusznik dłużej niż przez 5 sekund. Jeśli rozrusznik będzie pracował nieprzerwanie dłużej niż 5 sekund, akumulator szybko się rozładuje, co uniemożliwi uruchomienie silnika. Rozrusznik może również ulec uszkodzeniu. Jeśli silnik nie uruchomi się po 5 sekundach kręcenia, wróć wyłącznikiem głównym do pozycji "ON" (włączone), odczekaj 10 sekund, a następnie ponownie zakręć silnikiem.
UWAGA:
Gdy silnik jest zimny, wymaga rozgrzania.
2.6 Rozgrzewanie silnika
- Po uruchomieniu silnika ustaw dźwignię zmiany biegów w pozycji neutralnej. Przez około pierwsze 3 minuty po uruchomieniu rozgrzewaj silnik, pracując na jednej piątej otwarcia przepustnicy lub mniej. W przeciwnym razie skróci się żywotność silnika.
PRZESTROGA:
- Jeśli pokrętło ssania pozostanie wyciągnięte po uruchomieniu silnika, silnik zgaśnie.
- W temperaturach -5℃ lub niższych, pozostaw pokrętło ssania całkowicie wyciągnięte przez około 30 sekund po uruchomieniu.
- Sprawdź, czy z otworu kontrolnego wody chłodzącej wypływa stały strumień wody.

PRZESTROGA:
- Jeśli woda nie wypływa z otworu przez cały czas pracy silnika, zatrzymaj go i sprawdź, czy wlot wody chłodzącej na dolnej obudowie lub otwór kontrolny wody chłodzącej nie są zablokowane.
- Jeśli nie można zlokalizować i usunąć problemu, skonsultuj się z dealerem PARSUN.
2.7 Zmiana biegów
OSTRZEŻENIE:
Przed zmianą biegów upewnij się, że w pobliżu w wodzie nie ma pływaków ani przeszkód.
PRZESTROGA:
Aby zmienić bieg z przedniego na wsteczny lub odwrotnie, należy najpierw zamknąć przepustnicę, tak aby silnik pracował na biegu jałowym (lub przy niskich prędkościach).
2.7.1 W przód
- Ustaw manetkę gazu w pozycji całkowicie zamkniętej.

- Przesuń dźwignię zmiany biegów szybko i zdecydowanie z pozycji neutralnej na bieg do przodu.

Dla F6/8/9.8FW
Pociągnij blokadę biegu jałowego do góry i przesuń dźwignię zdalnego sterowania szybko i zdecydowanie z pozycji neutralnej na bieg do przodu.

OSTRZEŻENIE:
Podczas pracy na biegu wstecznym płynąć powoli. Nie otwierać przepustnicy więcej niż do połowy. W przeciwnym razie łódź może stać się niestabilna, co może doprowadzić do utraty kontroli i wypadku.
2.7.2 W tył
- Ustaw manetkę gazu w pozycji całkowicie zamkniętej.

- Przesuń dźwignię zmiany biegów szybko i zdecydowanie z pozycji neutralnej na bieg wsteczny.

Dla F6/8/9.8FW
- Dokręć regulator tarcia układu kierowniczego, obracając go zgodnie z ruchem wskazówek zegara, aby zapobiec swobodnemu obracaniu się silnika.

- Pociągnij blokadę biegu jałowego do góry i przesuń dźwignię zdalnego sterowania szybko i zdecydowanie z pozycji neutralnej na bieg wsteczny.

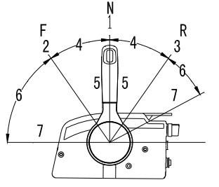
2.8 Rumpel
1. Zmiana kierunku
Aby zmienić kierunek, przesuń uchwyt rumpla w lewo lub w prawo, zgodnie z potrzebą.

2. Zmiana prędkości
Obróć manetkę w kierunku przeciwnym do ruchu wskazówek zegara, aby zwiększyć prędkość, i zgodnie z ruchem wskazówek zegara, aby ją zmniejszyć.
3. Wskaźnik przepustnicy
Wskaźnik przepustnicy znajduje się na manetce gazu. Krzywa zużycia paliwa na wskaźniku przepustnicy pokazuje względną ilość paliwa zużywanego dla każdej pozycji przepustnicy. Wybierz ustawienie oferujące najlepszą wydajność i oszczędność paliwa dla żądanego trybu pracy.

- Wskaźnik przepustnicy
4. Regulator tarcia przepustnicy

Regulator tarcia przepustnicy znajduje się na uchwycie rumpla; zapewnia on regulowany opór ruchu manetki gazu i może być ustawiony zgodnie z preferencjami operatora. Aby zwiększyć opór, obróć regulator zgodnie z ruchem wskazówek zegara. Aby zmniejszyć opór, obróć regulator w kierunku przeciwnym do ruchu wskazówek zegara. Gdy pożądana jest stała prędkość, dokręć regulator, aby utrzymać żądane ustawienie przepustnicy.
OSTRZEŻENIE:
Nie dokręcaj zbyt mocno regulatora tarcia. Jeśli opór będzie zbyt duży, przesunięcie dźwigni przepustnicy lub manetki może być trudne, co może doprowadzić do wypadku.
2.9 Zatrzymywanie silnika
UWAGA:
Przed zatrzymaniem silnika pozwól mu najpierw ostygnąć przez kilka minut na biegu jałowym lub przy niskiej prędkości.
Nie zaleca się zatrzymywania silnika bezpośrednio po pracy z dużą prędkością.
- Naciśnij i przytrzymaj przycisk zatrzymania silnika, aż silnik całkowicie się zatrzyma.
UWAGA:
Jeśli silnik zaburtowy jest wyposażony w zrywkę wyłącznika zatrzymania silnika, silnik można również zatrzymać, wyciągając zrywkę i zdejmując płytkę blokującą z wyłącznika.

- Dokręć śrubę odpowietrzającą na korku zbiornika paliwa.

- Odłącz przewód paliwo.


Dla T20/30FW
- Przekręć wyłącznik główny do pozycji "OFF" (wyłączone).

- Dokręć śrubę odpowietrzającą na korku zbiornika paliwa.

- Odłącz przewód paliwo.


2.10 Trymowanie silnika zaburtowego
We wspornik zaciskowym znajduje się 4 lub 5 otworów umożliwiających regulację kąta trymu silnika zaburtowego.
- Zatrzymaj silnik.
- Wyjmij drążek trymu ze wspornik zaciskowego, lekko odchylając silnik zaburtowy do góry.

- Zmień położenie drążka na żądany otwór. Wykonaj próby z trymem ustawionym pod różnymi kątami, aby znaleźć pozycję, która najlepiej sprawdza się dla Twojej łodzi i warunków eksploatacji.
OSTRZEŻENIE:
- Zatrzymaj silnik przed regulacją kąta trymu.
- Zachowaj ostrożność, aby uniknąć przytrzaśnięcia podczas wyjmowania lub instalowania drążka.
- Zachowaj ostrożność przy pierwszym wypróbowaniu nowej pozycji trymu. Stopniowo zwiększaj prędkość i obserwuj, czy nie ma oznak niestabilności lub problemów ze sterowanie. Niewłaściwy kąt trymu może spowodować utratę kontroli.
2.11 Odchylanie w górę i w dół
Jeśli silnik zostanie zatrzymany na dłuższy czas lub jeśli łódź cumuje na płyciźnie, silnik zaburtowy należy odchylić do góry, aby chronić śrubę i obudowę przed uszkodzeniem w wyniku zderzenia z przeszkodami, a także w celu ograniczenia korozji.
OSTRZEŻENIE:
Upewnij się, że podczas odchylania w górę i w dół w pobliżu silnika zaburtowego nie ma żadnych osób; uważaj również, aby nie przytrzasnąć żadnej części ciała między jednostką napędową a wspornik silnika.
UWAGA:
- Nie odchylaj silnika do góry, naciskając na uchwyt rumpla, ponieważ może to spowodować jego złamanie.
- Silnika zaburtowego nie można odchylać, gdy włączony jest bieg wsteczny.
2.11.1 Odchylanie w górę
- Ustaw dźwignię zmiany biegów w pozycji neutralnej.

- Dokręć regulator tarcia układu kierowniczego, obracając go zgodnie z ruchem wskazówek zegara, aby zapobiec swobodnemu obracaniu się silnika.

- Odłącz przewód paliwo od silnika zaburtowego.

- Odchyl silnik całkowicie do góry, aż dźwignia podpierająca odchylenie zablokuje się automatycznie.

2.11.2 Odchylanie w dół
- Lekko odchyl silnik zaburtowy do góry.
- Powoli odchylaj silnik zaburtowy w dół, pociągając dźwignię blokady odchylenia do góry.

- Poluzuj regulator tarcia układu kierowniczego, obracając go w kierunku przeciwnym do ruchu wskazówek zegara, i ustaw tarcie układu kierowniczego zgodnie z preferencjami operatora.

OSTRZEŻENIE:
Jeśli opór będzie zbyt duży, sterowanie może być trudne, co może doprowadzić do wypadku.
2.12 Pływanie w innych warunkach
2.12.1 Pływanie w płytkiej wodzie
Silnik zaburtowy można częściowo odchylić do góry, aby umożliwić pracę w płytkiej wodzie.
OSTRZEŻENIE:
- Przed pływaniem w płytkiej wodzie lub podczas odchylania silnika zaburtowego do góry należy ustawić dźwignię zmiany biegów w pozycji neutralnej.
- Przywróć silnik zaburtowy do normalnej pozycji, gdy tylko łódź znajdzie się na głębszej wodzie.
PRZESTROGA:
Wlot wody chłodzącej na dolnej jednostce nie powinien znajdować się powyżej powierzchni wody podczas przygotowania do pływania i samego pływania w płytkiej wodzie. W przeciwnym razie może dojść do poważnego uszkodzenia w wyniku przegrzania. Procedurę odchylania opisano w sekcji 2.11.
2.12.2 Pływanie w słonej wodzie
Po pracy w słonej wodzie należy wypłukać kanały wody chłodzącej świeżą wodą, aby zapobiec ich zapchaniu przez osady soli.
3. Konserwacja
Podczas korzystania z silnika zaburtowego okresowa konserwacja jest niezbędna dla zapewnienia jego wydajności.
OSTRZEŻENIE:
Pamiętaj o wyłączeniu silnika podczas wykonywania czynności konserwacyjnych, chyba że określono inaczej. Prace te powinny być zawsze wykonywane przez wykwalifikowanego mechanika lub autoryzowanego dealera Parsun.
PRZESTROGA:
Jeśli konieczna jest wymiana części, używaj wyłącznie oryginalnych części PARSUN lub odpowiednich części tego samego typu i jakości.
3.1 Smarowanie

3.2 Czyszczenie i regulacja świecy zapłonowej
Należy okresowo wyjmować i sprawdzać świecę zapłonową, ponieważ ciepło i osady powodują jej powolne niszczenie i erozję. W razie potrzeby należy wymienić świecę na nową odpowiedniego typu.
Przed zamontowaniem świecy zapłonowej należy zmierzyć odstęp elektrod za pomocą szczelinomierza drutowego; w razie potrzeby wyregulować odstęp zgodnie ze specyfikacją.

Podczas montażu świecy należy zawsze oczyścić powierzchnię uszczelki i użyć nowej uszczelki. Zetrzyj wszelkie zanieczyszczenia z gwintów i wkręć świecę zapłonową z odpowiednim momentem dokręcania.
3.3 Sprawdzanie układu paliwo
- Sprawdź przewody paliwo pod kątem wycieków, pęknięć lub wadliwego działania. W przypadku stwierdzenia problemu należy skontaktować się z dealerem PARSUN i niezwłocznie zlecić naprawę.


OSTRZEŻENIE:
- Regularnie sprawdzaj, czy nie ma wycieków paliwa.
- W przypadku stwierdzenia jakiegokolwiek wycieku paliwa, układ paliwo musi zostać naprawiony przez wykwalifikowanego mechanika.
- Okresowo sprawdzaj filtr paliwa. W przypadku znalezienia ciał obcych w filtrze należy go wymienić.
PRZESTROGA:
Filtr paliwa jest jednoczęściową, jednorazową częścią zamienną.

3.4 Sprawdzanie prędkości biegu jałowego
Do tej procedury należy użyć tachometru diagnostycznego. Wyniki mogą się różnić w zależności od tego, czy test jest przeprowadzany z przystawką do płukania, w zbiorniku testowym czy z silnikiem zaburtowym w wodzie.
- Uruchom silnik i pozwól mu się w pełni rozgrzać na biegu jałowym, aż będzie pracował płynnie.
- Sprawdź, czy prędkość obrotowa biegu jałowego jest zgodna ze specyfikacją.
Prędkość biegu jałowego: 950 ±50 obr./min
PRZESTROGA:
Prawidłowa kontrola prędkości biegu jałowego jest możliwa tylko przy w pełni rozgrzanym silniku. Jeśli silnik nie jest w pełni rozgrzany, prędkość biegu jałowego będzie wyższa niż normalnie. Jeśli masz trudności ze sprawdzeniem prędkości biegu jałowego lub jeśli wymaga ona regulacji, skonsultuj się z dealerem PARSUN lub innym wykwalifikowanym mechanikiem.
3.5 Wymiana oleju silnikowego
OSTRZEŻENIE:
- Unikaj spuszczania oleju silnikowego bezpośrednio po zatrzymaniu silnika. Olej jest gorący i należy się z nim obchodzić ostrożnie, aby uniknąć oparzeń.
- Upewnij się, że silnik zaburtowy jest bezpiecznie przymocowany do pawęży lub stabilnego stojaka.
PRZESTROGA:
Wymień olej silnikowy po pierwszych 10 godzinach pracy, a następnie co 100 godzin lub w odstępach 6-miesięcznych. W przeciwnym razie silnik szybko się zużyje.
Olej silnikowy należy wymieniać, gdy jest on jeszcze ciepły.
- Ustaw silnik zaburtowy w pozycji pionowej (nie odchylonej).
- Przygotuj odpowiedni pojemnik o pojemności większej niż ilość oleju w silniku. Poluzuj i wykręć śrubę spustową, trzymając pojemnik pod otworem spustowym. Następnie zdejmij korek wlewu oleju. Pozwól, aby olej całkowicie wyciekł. Rozlany olej natychmiast wytrzyj.


- Załóż nową uszczelkę na śrubę spustową oleju. Dokręć śrubę spustową.
- Wlej odpowiednią ilość oleju przez otwór wlewowy. Załóż korek wlewu.
- Uruchom silnik i upewnij się, że nie ma wycieków oleju.
- Wyłącz silnik i odczekaj 3 minuty. Ponownie sprawdź poziom oleju za pomocą bagnetu, aby upewnić się, że mieści się on pomiędzy górnym a dolnym znakiem.
PRZESTROGA:
Olej należy wymieniać częściej, gdy silnik jest eksploatowany w niekorzystnych warunkach, takich jak długotrwałe pływanie z małą prędkością (trolling).
3.6 Sprawdzanie okablowania i złączy
Sprawdź, czy każdy przewód masowy jest prawidłowo zamocowany, a każde złącze jest pewnie osadzone.
3.7 Sprawdzanie wycieków
Sprawdź, czy nie ma wycieków spalin lub wody na połączeniach między pokrywą wydechu, głowicą cylindrów a blokiem cylindrów.
Sprawdź, czy wokół silnika nie ma wycieków oleju.
PRZESTROGA:
W przypadku stwierdzenia jakichkolwiek wycieków należy skontaktować się z dealerem PARSUN.
3.8 Sprawdzanie śruby
OSTRZEŻENIE:
- Przed sprawdzaniem, demontażem lub montażem śruby należy zawsze podjąć działania zapobiegające przypadkowemu uruchomieniu silnika, takie jak zdjęcie fajek ze świec zapłonowych, ustawienie dźwigni zmiany biegów w pozycji neutralnej, zdjęcie zrywki z wyłącznika zatrzymania silnika itp. Przebywanie zbyt blisko śruby podczas uruchamiania silnika może spowodować poważne obrażenia.
- Nie trzymaj śruby ręką podczas odkręcania lub dokręcania nakrętki śruby. Umieść drewniany kloc między płytą antykawitacyjną a śrubą, aby zapobiec jej obracaniu się.


- Sprawdź każde z łopatek śruby pod kątem zużycia, erozji wynikającej z kawitacji lub wentylacji, bądź innych uszkodzeń.
- Sprawdź wał śruby pod kątem uszkodzeń.
- Sprawdź wielowypusty/kołek ścinany pod kątem zużycia lub uszkodzeń.
- Sprawdź, czy wokół wału śruby nie zaplątała się żyłka wędkarska.
- Sprawdź, czy uszczelniacz olejowy wału śruby nie jest uszkodzony.
3.8.1 Demontaż śruby
- Wyprostuj zawleczkę i wyciągnij ją szczypcami.
- Odkręć nakrętkę śruby, zdejmij podkładkę i tuleję dystansową (jeśli jest na wyposażeniu).
- Zdejmij śrubę i podkładkę oporową.
3.8.2 Montaż śruby
PRZESTROGA:
- Pamiętaj o zainstalowaniu podkładki oporowej przed montażem śruby, w przeciwnym razie dolna obudowa i piasta śruby mogą ulec uszkodzeniu.
- Użyj nowej zawleczki i mocno wygnij jej końce. W przeciwnym razie śruba może spaść podczas pracy i zostać zgubiona.
- Nałóż smar marinowy lub smar odporny na korozję na wał śruby.
- Zainstaluj tuleję dystansową (jeśli jest na wyposażeniu), podkładkę oporową i śrubę na wale śruby.
- Zainstaluj tuleję dystansową (jeśli jest na wyposażeniu) i podkładkę.
- Dokręć nakrętkę śruby. Wyrównaj nakrętkę śruby z otworem w wale śruby. Włóż nową zawleczkę do otworu i zegnij jej końce.
3.9 Wymiana oleju przekładniowego
OSTRZEŻENIE:
- Upewnij się, że silnik zaburtowy jest bezpiecznie przymocowany do pawęży lub stabilnego stojaka.
- Nigdy nie wchodź pod dolną jednostkę, gdy silnik zaburtowy jest odchylony, nawet jeśli dźwignia lub pokrętło podpierające odchylenie są zablokowane. Jeśli silnik spadnie, może dojść do poważnych obrażeń.
- Odchyl silnik zaburtowy tak, aby śruba spustowa oleju przekładniowego znajdowała się w możliwie najniższym punkcie.
- Umieść odpowiedni pojemnik pod obudową przekładni.
- Wykręć śrubę spustową oleju przekładniowego.

- Śruba spustowa oleju przekładniowego
- Korek poziomu oleju
PRZESTROGA:
Wymień olej przekładniowy po pierwszych 10 godzinach pracy, a następnie co 100 godzin lub w odstępach 6-miesięcznych. W przeciwnym razie przekładnia szybko się zużyje.
- Wykręć korek poziomu oleju, aby olej mógł całkowicie wycieknąć.
PRZESTROGA:
Sprawdź zużyty olej po jego spuszczeniu. Jeśli olej ma mleczny kolor, oznacza to, że do obudowy przekładni dostaje się woda, co może spowodować uszkodzenie kół zębatych. Skonsultuj się z dealerem PARSUN.
- Używając elastycznego lub ciśnieniowego urządzenia do napełniania, wstrzyknij olej przekładniowy przez otwór śruby spustowej. (320 cm³)
- Gdy olej zacznie wypływać z otworu korka poziomu oleju, włóż i dokręć korek poziomu oleju (w razie potrzeby wymień podkładkę uszczelniającą).
- Włóż i dokręć śrubę spustową oleju przekładniowego (w razie potrzeby wymień podkładkę uszczelniającą).
3.10 Czyszczenie zbiornika paliwa
OSTRZEŻENIE:
- Podczas czyszczenia zbiornika paliwa trzymaj się z dala od iskier, papierosów, płomieni lub innych źródeł zapłonu.
- Czyść zbiornik paliwa w dobrze wentylowanym miejscu na zewnątrz.
- Opróżnij zbiornik paliwa do zatwierdzonego pojemnika.
- Wlej do zbiornika niewielką ilość odpowiedniego rozpuszczalnika. Załóż korek i potrząśnij zbiornikiem. Całkowicie spuść rozpuszczalnik.
- Wyciągnij zespół złącza paliwo ze zbiornika.
- Wyczyść filtr w odpowiednim rozpuszczalniku i pozwól mu wyschnąć.
- Wymień uszczelkę na nową. Ponownie zainstaluj zespół złącza paliwo i mocno dokręć śruby.
3.11 Sprawdzanie i wymiana anod
Okresowo sprawdzaj anody zewnętrzne. Usuwaj osady z powierzchni anod. W celu wymiany anod zewnętrznych skonsultuj się z dealerem PARSUN.
PRZESTROGA:
Nie maluj anod, ponieważ spowodowałoby to ich nieskuteczność i mogłoby doprowadzić do szybszej korozji silnika.
3.12 Sprawdzanie górnej pokrywy
Sprawdź dopasowanie górnej pokrywy, naciskając ją obiema rękami. Jeśli jest luźna, zleć jej naprawę dealerowi PARSUN.

3.13 Tabela konserwacji
Użytkowany w normalnych warunkach, konserwowany i naprawiany w odpowiedni sposób silnik może pracować normalnie przez cały okres żywotności.
Częstotliwość operacji konserwacyjnych może być dostosowana do warunków pracy, ale poniższa tabela zawiera ogólne wytyczne.
Symbol „●” oznacza czynności kontrolne, które można wykonać samodzielnie.
Symbol „○” oznacza prace, które powinien wykonać dealer Parsun.
| Pozycja | Operacje | Pierwsze 10 godz. (1 miesiąc) | Pierwsze 50 godz. (3 miesiące) | Co 100 godz. (6 miesięcy) | Co 200 godz. (1 rok) |
|---|---|---|---|---|---|
| Anody (zewnętrzne) | Sprawdzenie/wymiana | ● / ○ | ● / ○ | ||
| Anody (wewnętrzne) | Sprawdzenie/wymiana | ○ | |||
| Kanały wody chłodzącej | Czyszczenie | ● | ● |
Kontynuacja /...1
| Pozycja | Operacje | Pierwsze | Co | ||
|---|---|---|---|---|---|
| 10 godz. (1 miesiąc) | 50 godz. (3 miesiące) | 100 godz. (6 miesięcy) | 200 godz. (1 rok) | ||
| Zacisk pokrywy | Sprawdzenie | ● | |||
| Filtr paliwa (jednorazowy) | Sprawdzenie | ● | ● | ● | |
| Układ paliwo | Sprawdzenie | ● | ● | ● | |
| Zbiornik paliwa (przenośny) | Sprawdzenie/czyszczenie | ● | |||
| Olej przekładniowy | Wymiana | ● | ● | ||
| Punkty smarowania | Smarowanie | ● | |||
| Prędkość biegu jałowego (modele gaźnik) | Sprawdzenie/regulacja | ● / ○ | ● / ○ | ||
| Śruba i zawleczka | Sprawdzenie/wymiana | ● | ● | ||
| Cięgno zmiany biegów/linka zmiany biegów | Sprawdzenie/regulacja | ○ | |||
| Termostat | Sprawdzenie | ○ | |||
| Cięgno przepustnicy/linka przepustnicy/synchronizacja | Sprawdzenie/regulacja | ○ | |||
| Pompa wody | Sprawdzenie | ○ | |||
| Olej silnikowy | Sprawdzenie/wymiana | ● | ● | ||
| Filtr oleju | Wymiana | ○ |
Kontynuacja /…2
| Pozycja | Operacje | Pierwsze 10 godz. (1 miesiąc) | Pierwsze 50 godz. (3 miesiące) | Co 100 godz. (6 miesięcy) | Co 200 godz. (1 rok) |
|---|---|---|---|---|---|
| Świeca(e) zapłonowa(e) | Czyszczenie/regulacja/wymiana | ● | ● | ||
| Pasek rozrządu | Sprawdzenie/wymiana | ○ | ○ | ||
| Luz zaworowy (OHC, OHV) | Sprawdzenie/regulacja | ○ | ○ |
UWAGA:
Podczas pracy w słonej, mętnej lub mulistej wodzie silnik należy przepłukać czystą wodą po każdym użyciu.
4 Transport i przechowywanie silnika zaburtowego
4.1 Transport
Podczas transportu silnik zaburtowy powinien znajdować się w pozycji pionowej, jak pokazano na poniższym rysunku 1. Jeśli silnik musi zostać położony, należy go ustawić tak, jak pokazano na poniższym rysunku 2 lub rysunku 3.
PRZESTROGA:
Nie używaj dźwigni ani pokrętła podpierającego odchylenie podczas transportu łodzi na przyczepie. Silnik zaburtowy mógłby się poluzować i spaść. Jeśli silnik nie może być transportowany w normalnej pozycji roboczej, użyj dodatkowego urządzenia wspierającego, aby zabezpieczyć go w pozycji odchylonej.
OSTRZEŻENIE:
- Nigdy nie wchodź pod dolną jednostkę, gdy jest ona odchylona, nawet jeśli używana jest belka wspierająca silnik.
- Przy transportowaniu silnika zaburtowego należy go ustawić w sposób pokazany na poniższych rysunkach.

Uwaga:
- Podłóż ręcznik lub coś podobnego pod silnik zaburtowy, aby chronić go przed uszkodzeniem, gdy jest ustawiony w sposób pokazany na rysunku 2 lub 3 powyżej.
- Proszę oprzeć silnik na osłonie obudowy (rysunek 4), gdy jest ustawiony w sposób pokazany na rysunku 3 powyżej.
4.2 Przechowywanie
Podczas przechowywania silnika zaburtowego PARSUN przez dłuższy czas (2 miesiące lub dłużej) należy wykonać kilka ważnych procedur, aby zapobiec nadmiernym uszkodzeniom.
PRZESTROGA:
- Przechowuj silnik zaburtowy w pozycji pionowej. W przypadku przechowywania silnika na boku (nie w pionie), połóż go na poduszce po całkowitym spuszczeniu oleju silnikowego.
- Nie kładź silnika zaburtowego na boku, zanim woda chłodząca całkowicie z niego nie wycieknie.
- Przechowuj silnik zaburtowy w suchym, dobrze wentylowanym miejscu, z dala od bezpośredniego światła słonecznego.
Zaleca się, aby przed przechowywaniem silnik zaburtowy został poddany przeglądowi przez autoryzowanego dealera PARSUN. Jednak Ty, jako właściciel, posiadając minimum narzędzi, możesz samodzielnie wykonać poniższe procedury.
- Umyj obudowę silnika zaburtowego świeżą wodą.
- Odłącz przewód paliwo i dokręć śrubę odpowietrzającą.
- Zdejmij górną pokrywę silnika i osłonę tłumika szumów ssania.
- Zamontuj silnik zaburtowy w zbiorniku testowym.

- Napełnij zbiornik świeżą wodą do poziomu powyżej płyty antykawitacyjnej.
PRZESTROGA:
Jeśli poziom świeżej wody jest poniżej płyty antykawitacyjnej lub jeśli dopływ wody jest niewystarczający, może dojść do zatarcia silnika.
- Uruchom silnik. Przepłucz układ chłodzenia. Płukanie i konserwację wnętrza (fogging) wykonuj jednocześnie, ponieważ konserwacja/smarowanie silnika jest obowiązkowe, aby zapobiec rdzewieniu silnika.
OSTRZEŻENIE:
- Nie dotykaj ani nie zdejmuj części elektryczny podczas uruchamiania lub pracy silnika.
- Trzymaj ręce, włosy i odzież z dala od koła zamachowego i innych obracających się części podczas pracy silnika.
- Uruchom silnik na podwyższonych obrotach biegu jałowego przez kilka minut w pozycji neutralnej.
- Tuż przed wyłączeniem silnika szybko rozpyl mgiełkę oleju konserwującego ("Fogging Oil") naprzemiennie do każdego gaźnik lub otworu konserwacyjnego osłony tłumika szumów ssania, jeśli silnik jest w niego wyposażony.
- Jeśli "Fogging Oil" nie jest dostępny, uruchom silnik na podwyższonych obrotach biegu jałowego, aż układ paliwo się opróżni i silnik zgaśnie.
- Jeśli "Fogging Oil" nie jest dostępny, wykręć świecę(e) zapłonową(e). Wlej łyżeczkę czystego oleju silnikowego do każdego cylindra. Zakręć silnikiem kilka razy ręcznie. Wkręć świecę(e) zapłonową(e).
- Całkowicie spuść paliwo ze zbiornika paliwa.
PRZESTROGA:
Przechowuj zbiornik paliwa w suchym, dobrze wentylowanym miejscu, z dala od bezpośredniego światła słonecznego.
5. Działania w sytuacjach awaryjnych
5.1 Uszkodzenia powstałe w wyniku uderzenia
Jeśli silnik zaburtowy uderzy w jakiś przedmiot w wodzie, postępuj zgodnie z poniższą procedurą.
- Natychmiast zatrzymaj silnik.
- Sprawdź układ sterowania i wszystkie komponenty pod kątem uszkodzeń.
- Niezależnie od tego, czy uszkodzenia zostaną stwierdzone, czy nie, wróć powoli i ostrożnie do najbliższego portu.
- Przed ponownym uruchomieniem silnika zleć jego przegląd dealerowi PARSUN.
5.2 Rozrusznik nie działa
Jeśli mechanizm rozrusznik nie działa, silnik można uruchomić za pomocą awaryjnej linki rozruchowej.
OSTRZEŻENIE:
- Stosuj tę procedurę wyłącznie w sytuacjach awaryjnych i tylko w celu powrotu do portu w celu naprawy.
- Gdy do uruchomienia silnika używana jest awaryjna linka rozruchowa, urządzenie zabezpieczające przed uruchomieniem na biegu nie działa. Upewnij się, że dźwignia zdalnego sterowania znajduje się w pozycji neutralnej.
- Upewnij się, że nikt nie stoi za Tobą podczas ciągnięcia linki rozrusznik. Linka może gwałtownie cofnąć się do tyłu i zranić kogoś.
- Nie instaluj mechanizmu rozrusznik ani górnej pokrywy po uruchomieniu silnika. Podczas uruchamiania silnika trzymaj luźną odzież i inne przedmioty z daleka. Nie dotykaj koła zamachowego ani innych ruchomych części, gdy silnik pracuje.
- Nie dotykaj cewki zapłonowej, przewodu świecy zapłonowej, fajki świecy zapłonowej ani innych komponentów elektryczny podczas uruchamiania lub pracy silnika.
Procedura jest następująca:
- Zdejmij górną pokrywę.
- Zdejmij linkę zabezpieczającą przed uruchomieniem na biegu.

- Linka zabezpieczająca przed uruchomieniem na biegu
- Zdejmij rozrusznik po odkręceniu trzech śrub.

- Przygotuj silnik do uruchomienia. Dalsze informacje znajdują się w sekcji 2.5.
- Włóż węzeł na końcu awaryjnej linki rozruchowej w wycięcie w rotorze koła zamachowego i owiń linkę kilka razy wokół koła zamachowego zgodnie z ruchem wskazówek zegara.
- Powoli ciągnij linkę, aż poczujesz opór.

- Mocno pociągnij prosto, aby zakręcić i uruchomić silnik. W razie potrzeby powtórz.
5.3 Postępowanie z zalanym silnikiem
Jeśli silnik zaburtowy zostanie zalany, natychmiast zabierz go do dealera PARSUN. W przeciwnym razie korozja może rozpocząć się niemal natychmiast.
- Dokładnie zmyj zanieczyszczenia świeżą wodą.
- Wykręć świecę(e) zapłonową(e), a następnie skieruj otwór świecy w dół, aby umożliwić odpływ błota lub zanieczyszczeń.
- Napełnij miskę olejową świeżym olejem silnikowym.
- Podawaj olej do konserwacji silnika lub olej silnikowy przez gaźnik(i) i otwory świec zapłonowych podczas uruchamiania silnika.
- Jak najszybciej zabierz silnik zaburtowy do dealera PARSUN.
PRZESTROGA:
Nie próbuj uruchamiać silnika zaburtowego, dopóki nie zostanie on całkowicie sprawdzony.
6. Rozwiązywanie problemów
| Typ problemu | Możliwa przyczyna | Działanie naprawcze |
|---|---|---|
| Rozrusznik nie działa | Wadliwe elementy rozrusznik | Zleć serwis u dealera |
| Rozrusznik nie działa | Dźwignia zmiany biegów nie jest w pozycji neutralnej | Zmień na neutralną |
| Silnik nie uruchamia się (rozrusznik działa) | Zbiornik paliwa jest pusty | Napełnij zbiornik czystym, świeżym paliwem |
| Silnik nie uruchamia się (rozrusznik działa) | Paliwo jest zanieczyszczone lub stare | Napełnij zbiornik czystym, świeżym paliwem |
| Silnik nie uruchamia się (rozrusznik działa) | Zapchany filtr paliwa | Wymień na zalecany typ |
| Silnik nie uruchamia się (rozrusznik działa) | Awaria pompy paliwa | Zleć serwis u dealera |
| Silnik nie uruchamia się (rozrusznik działa) | Świeca(e) zapłonowa(e) zabrudzona lub niewłaściwego typu | Sprawdź świece. Wyczyść lub wymień na zalecany typ |
| Silnik nie uruchamia się (rozrusznik działa) | Niewłaściwie założone fajki świec | Sprawdź i załóż fajki ponownie |
| Silnik nie uruchamia się (rozrusznik działa) | Okablowanie zapłonu uszkodzone lub źle podłączone | Sprawdź przewody pod kątem zużycia lub pęknięć. Dokręć luźne połączenia. Wymień zużyte/pęknięte przewody |
| Silnik nie uruchamia się (rozrusznik działa) | Wadliwe części zapłonu | Zleć serwis u dealera |
| Silnik nie uruchamia się (rozrusznik działa) | Zrywka wyłącznika zatrzymania nie jest przymocowana | Przymocuj zrywkę |
| Silnik nie uruchamia się (rozrusznik działa) | Uszkodzone części wewnętrzne silnika | Zleć serwis u dealera |
| Nierówny bieg jałowy lub gaśnięcie silnika | Świeca(e) zapłonowa(e) zabrudzona lub niewłaściwego typu | Sprawdź świece. Wyczyść lub wymień na zalecany typ |
| Nierówny bieg jałowy lub gaśnięcie silnika | Układ paliwo jest zatkany | Sprawdź, czy przewód paliwo nie jest przyciśnięty/zagięty lub czy nie ma innych przeszkód |
| Nierówny bieg jałowy lub gaśnięcie silnika | Paliwo jest zanieczyszczone lub stare | Napełnij zbiornik czystym, świeżym paliwem |
| Nierówny bieg jałowy lub gaśnięcie silnika | Zapchany filtr paliwa | Wymień na zalecany typ |
| Nierówny bieg jałowy lub gaśnięcie silnika | Niewłaściwy odstęp elektrod świecy | Sprawdź i ustaw zgodnie ze specyfikacją |
| Nierówny bieg jałowy lub gaśnięcie silnika | Okablowanie zapłonu uszkodzone lub źle podłączone | Sprawdź przewody pod kątem zużycia lub pęknięć. Dokręć luźne połączenia. Wymień zużyte/pęknięte przewody |
| Nierówny bieg jałowy lub gaśnięcie silnika | Nie jest używany zalecany olej silnikowy | Sprawdź i wymień olej na zalecany |
| Nierówny bieg jałowy lub gaśnięcie silnika | Wadliwy lub zapchany termostat | Zleć serwis u dealera |
| Nierówny bieg jałowy lub gaśnięcie silnika | Niewłaściwa regulacja gaźnik | Zleć serwis u dealera |
| Nierówny bieg jałowy lub gaśnięcie silnika | Zapchany gaźnik | Zleć serwis u dealera |
| Nierówny bieg jałowy lub gaśnięcie silnika | Uszkodzona pompa paliwa | Zleć serwis u dealera |
| Nierówny bieg jałowy lub gaśnięcie silnika | Śruba odpowietrzająca na zbiorniku jest zamknięta | Otwórz śrubę odpowietrzającą |
| Nierówny bieg jałowy lub gaśnięcie silnika | Niewłaściwe podłączenie złącza paliwo | Podłącz prawidłowo |
| Nierówny bieg jałowy lub gaśnięcie silnika | Niewłaściwa regulacja przepustnicy | Zleć serwis u dealera |
| Nierówny bieg jałowy lub gaśnięcie silnika | Wyciągnięte pokrętło ssania | Wróć do pozycji wyjściowej |
| Nierówny bieg jałowy lub gaśnięcie silnika | Zbyt duży kąt silnika | Przywróć do normalnej pozycji roboczej |
| Utrata mocy silnika | Uszkodzona śruba napędowa | Napraw lub wymień śrubę |
| Utrata mocy silnika | Niewłaściwy kąt trymu | Wyreguluj kąt trymu dla optymalnej pracy |
| Utrata mocy silnika | Silnik zamontowany na niewłaściwej wysokości pawęży | Ustaw silnik na właściwej wysokości |
| Utrata mocy silnika | Dno łodzi jest porośnięte roślinnością morską | Wyczyść dno łodzi |
| Utrata mocy silnika | Wodorosty lub inne ciała obce zaplątane w obudowę przekładni | Usuń ciała obce i wyczyść dolną jednostkę |
| Utrata mocy silnika | Świeca(e) zapłonowa(e) zabrudzona lub niewłaściwego typu | Sprawdź świece. Wyczyść lub wymień na zalecany typ |
| Utrata mocy silnika | Układ paliwo jest zatkany | Sprawdź, czy przewód paliwo nie jest przyciśnięty/zagięty lub czy nie ma innych przeszkód |
| Utrata mocy silnika | Zapchany filtr paliwa | Wymień na zalecany typ |
| Utrata mocy silnika | Paliwo jest zanieczyszczone lub stare | Napełnij zbiornik czystym, świeżym paliwem |
| Utrata mocy silnika | Niewłaściwy odstęp elektrod świecy | Sprawdź i ustaw zgodnie ze specyfikacją |
| Utrata mocy silnika | Okablowanie zapłonu uszkodzone lub źle podłączone | Sprawdź przewody pod kątem zużycia lub pęknięć. Dokręć luźne połączenia. Wymień zużyte/pęknięte przewody |
| Utrata mocy silnika | Awaria części zapłonu | Zleć serwis u dealera |
| Utrata mocy silnika | Nie jest używany zalecany olej silnikowy | Sprawdź i wymień olej na zalecany |
| Utrata mocy silnika | Wadliwy lub zapchany termostat | Zleć serwis u dealera |
| Utrata mocy silnika | Śruba odpowietrzająca na zbiorniku jest zamknięta | Otwórz śrubę odpowietrzającą |
| Utrata mocy silnika | Awaria pompy paliwa | Zleć serwis u dealera |
| Utrata mocy silnika | Niewłaściwe podłączenie złącza paliwo | Podłącz prawidłowo |
| Utrata mocy silnika | Nie są używane zalecane świece zapłonowe | Sprawdź i wymień świece na zalecane |
| Nadmierne wibracje silnika | Uszkodzona śruba napędowa | Napraw lub wymień śrubę |
| Nadmierne wibracje silnika | Uszkodzony wał śruby | Zleć serwis u dealera |
| Nadmierne wibracje silnika | Wodorosty lub inne ciała obce zaplątane w śrubę | Zdejmij i wyczyść śrubę |
| Nadmierne wibracje silnika | Poluzowana śruba montażowa silnika | Dokręć śrubę |
| Nadmierne wibracje silnika | Poluzowany sworzeń układu kierowniczego | Dokręć go |
| Nadmierne wibracje silnika | Uszkodzony sworzeń układu kierowniczego | Zleć serwis u dealera |
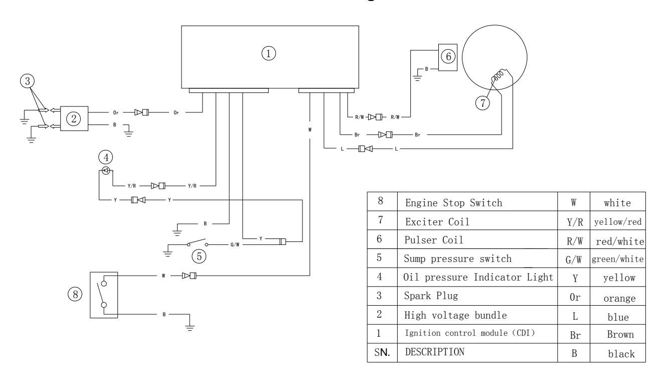
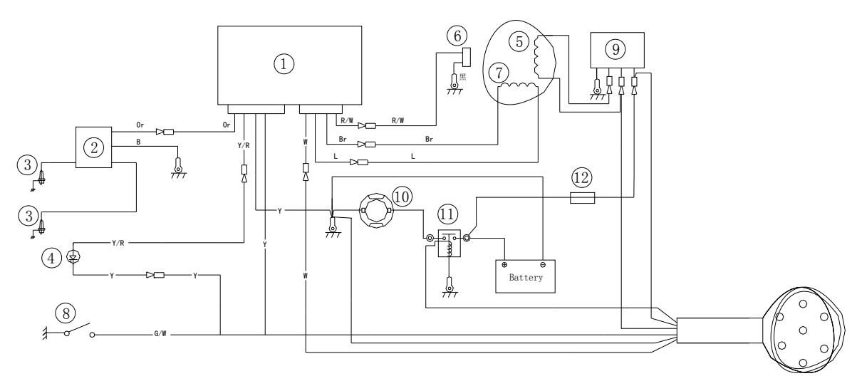
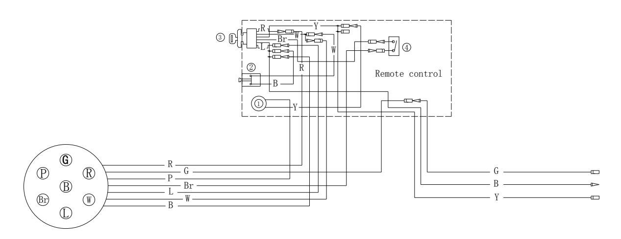
7. Schemat obwodu


| 12 | Bezpiecznik | ||
|---|---|---|---|
| 11 | Przekaźnik rozrusznik | ||
| 10 | Silnik rozrusznik | ||
| 9 | Prostownik | ||
| 8 | Wyłącznik zatrzymania silnika | W | biały |
| 7 | Cewka wzbudzająca | Y/R | żółty/czerwony |
| 6 | Cewka pulsera | R/W | czerwony/biały |
| 5 | Cewka oświetlenia | G/W | zielony/biały |
| 4 | Lampka kontrolna ciśnienia oleju | Y | żółty |
| 3 | Świeca zapłonowa | 0r | pomarańczowy |
| 2 | Wiązka wysokiego napięcia | L | niebieski |
| 1 | Moduł sterowania zapłonem (CDI) | Br | brązowy |
| SN. | OPIS | В | czarny |

| R | czerwony | 4 | Przełącznik | ||
|---|---|---|---|---|---|
| Y | żółty | Y/R | żółty/czerwony | 3 | Zapłon |
| L | niebieski | R/W | czerwony/biały | 2 | Wyłącznik zatrzymania silnika |
| G | zielony | В | czarny | 1 | Brzęczyk |
| Br | brązowy | W | biały | SN. | OPIS |